Hoppa till innehåll
3485-_IMG_1.jpg

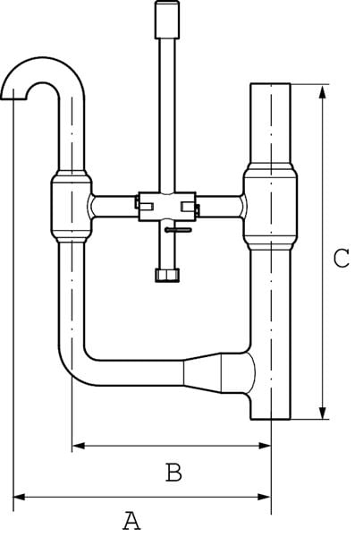
Växelventil AT 3485-65-32

RSK logo

4451625

För avstängning mellan varmvattenpanna och säkerhetsventilen i ett slutet värmesystem. För avstängning mellan varmvattenpanna och säkerhetsrör i ett öppet system.

Artikeln har utgått

Viss avvikelse kan förekomma

Tekniska specifikationer

ProduktserieVäxelventil AT 3485
DN65
PN16
Temperatur (°C)-10 - 110
AnslutningISO 1127, svetsända