EVBS Dreiespjeld Wafer
Hus: Seigjern
Spjeld: Duplex
Liner: NBR
AT2312 er en kvalitetsventil med fast vulkanisert NBR-tetning i semi-LUG design. Ventilene er også godt egnet for vakuum, og kommer med håndspak, snekkegir eller aktuator. Med høy hals for overisolering.
For nedstengning og regulering. Varmt og kaldt vann: brannvannsystem
- Varme- og kjølesystem
- Vakuum
- Nøytrale gasser
NBR-gummi: Kaldt vann, pulver, hydrokarbonforbindelser med maks. 30 % aromater ved +20 °C, luft og nøytrale gasser.
PSB.2 Roterende spjeldventiler
AFS 2023:5, PED 2014/68/EU
Produktet er CE-merket
Sundahus: B
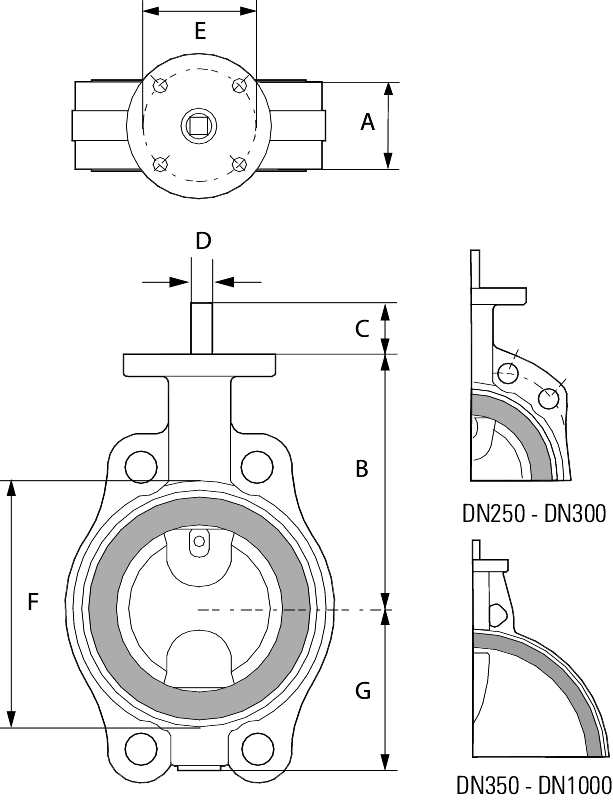
| Pos | Komponent | Materiale |
|---|---|---|
| 1 | Ventilhus | Støpejern GJL-250 (GG25) |
| 2 | Spjeldplate (DN50-450) | Rustfritt stål duplex (1.4462) |
| 3 | Spjeld (DN500-1600) | Syrefast stål AISI 316Ti (1.4571) |
| 4 | Aksler | Rustfritt stål duplex (1.4462) |
| 5 | Fôr | NBR (nitrilgummi) |

Dimensjonsområde (DN): 50 - 2200
| DN | |
|---|---|
| A | |
| B | |
| C | |
| Netto vekt (kg) | 0 |
Fullt tettende, vedlikeholdsfri spjeldventil med sentralt plassert spjeldskive, delt spindel, helkropp med fast vulkanisert gummiforing i karosseriet som eliminerer risikoen for sprekkkorrosjon, beskytter ventilhuset innvendig mot korrosjon og fungerer som flenspakning. Produksjonsprosessen sikrer utmerket tetning og økt levetid ettersom slitasje på foringen er eliminert. Spjeldskivens profil er avgjørende for å oppnå gode strømningsegenskaper, noe som på sikt fører til minimering av energitap. Ventilen er tett uansett strømningsretning.
Ventilhus med SEMI-LUG monteringsører for ensidig montering
AT 2312 er utstyrt med monteringsører opp til DN 200.
Denne utformingen gjør at ventilen opprettholder sin tettefunksjon selv med ensidig flensmontering, for eksempel som endeventil.
Gassskive og akselstifter er forbundet med en eller flere sterke koniske stifter.
Spjeldventil AT 2310-11 DN 50-200 leveres som standard med høy spindelhals for overisolering iht SS-EN 558
Toppflens i henhold til ISO 5211.
Standard overflatebehandling klasse C3 iht. ISO 12944.
Ved montering utendørs der det er betydelige mengder luftforurensning eller moderat mengde salt som i industri og kystområder, uten regnbeskyttelse anbefales klasse C4.
Hovedmateriale: Støpejern
Hovedmaterialets kode: Støpejern GJL-250 (GG25)
Inngående materialer: Støpejern, Rustfritt stål, Gummi
Inkludert materialkode: Rustfritt stål duplex (1.4462), Støpejern GJL-250 (GG25), NBR (nitrilgummi)
Temperatur (°C): 0 - 90
Trykklasse (PN): 10 - 16
Forbindelse/Tilkobling: Flenset DIN-EN1092
ETIM klassifisering: EC010910 - Butterfly ventil (spjeldventil)
BK04-kode: 20706 Vridspjäll
Produktfarge: RAL 2000 - Gul oransje
Strømningsretning: To-veis
Mulig monteringsposisjon: Vertikal, Horisontal
Ventilen er beregnet for å monteres mellom flenser, uten pakninger, og der det er mulig med akslingene i horisontal posisjon, unngå å montere ventilen med akselen nedover. Ved montering på en side skal ikke bolter og muttere trekkes til med høyere tiltrekkingsmoment enn angitt i tabellen i den aktuelle standarden. Ventilen må trenes regelmessig for å unngå opphopning av skitt som kan føre til lekkasje.