Smussfilter av stål, med flenser, PN 40 bar. Silinnsats i rustfritt stål. Separat silkurv med forskjellig maskevidde kan bestilles. For ikke-aggressive væsker, varmt vann, petroleumsprodukter, luft, gasser og damp.
| Dimensjonsområde (DN) | 15 - 400 |
|---|---|
| Trykklasse (PN) | 40 |
| Temperatur (°C) | -10 - 400 |
| Hovedmateriale | Stål |
For mekanisk rensing av ikke-aggressive væsker, varmtvann, petroleumsprodukter, luft, gasser og damp.
PMB.211 Siler
Smussfilter AT 4042B, DN.... Hus av stål, PN 40, med flenser. Maskestørrelse ... mm.
AFS 2023:5, PED 2014/68/EU
Produktet er CE-merket
Ventilen oppfyller kravene i AFS 2016:1 (trykkutstyrsdirektivet) og 2014/68/EU (trykkutstyrsdirektivet), i henhold til kategori III.
Meldepliktig i henhold til REACH: Nei
REACH dato: 2026-03-03
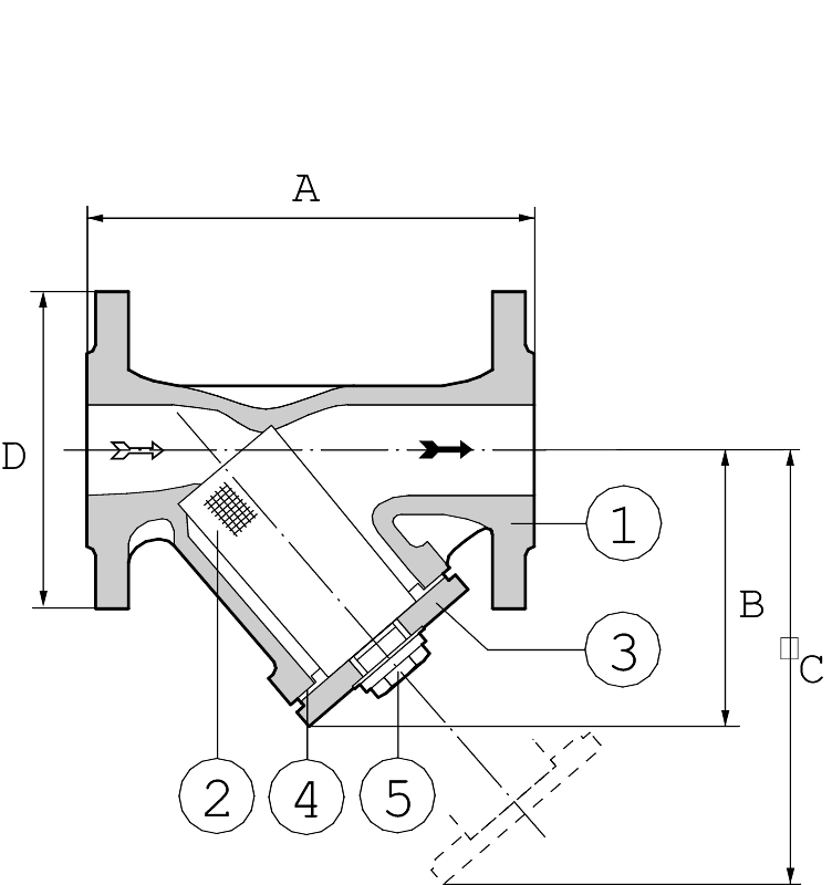
| Pos | Komponent | Materiale |
|---|---|---|
| 1 | Hus | Stål GP240GH N (1.0619) |
| 2 | Filterinnsats | Rustfritt stål (1.4501) |
| 3 | Lås | Stål GP240GH N (1.0619) |
| 4 | Dekkpakning | Grafitt |
| 5 | Rengjøringsplugg | Stål C35 (1.0501) |

Dimensjonsområde (DN): 15 - 400
Fanger effektivt de faste partiklene som er større enn maskestørrelsen til filterinnsatsen når mediet strømmer gjennom den sylindriske innsatsen.
Hovedmateriale: Stål
Hovedmaterialets kode: Stål GP240GH N (1.0619)
Inngående materialer: Stål
Inkludert materialkode: Stål GP240GH N (1.0619)
Temperatur (°C): -10 - 400
Trykklasse (PN): 40
Forbindelse/Tilkobling: Flenset DIN-EN1092
ETIM klassifisering: EC010151 - Y-filter (slamsamler)
BK04-kode: 20704 Filter
Strømningsretning: En-veis
Mulig monteringsposisjon: Vertikal, Horisontal
For best funksjon og enklest rengjøring av filterinnsatsen bør filteret monteres i horisontale rør med dekselet nedover. Kan også monteres vertikalt hvis gjennomstrømningen er nedover. Legg merke til strømningsretningen.
For eksempel avtrekksventil. AT 3535 kan monteres i stedet for rensepluggen for enklere rengjøring av filterinnsatsen. Ovennevnte gjelder ikke for damp.
Kraftig økt trykkfall over filteret indikerer at filterinnsatsen bør rengjøres. Løse filterinnsatser og dekkpakninger er tilgjengelige som reservedeler.