Högkvalitativt heltätande vridspjäll med disk i rostfritt stål, fastvulkaniserat gummifoder i EPDM. Full-LUG utförande. Även lämpligt för vakuum och som ändventil med handspak, snäckväxel eller manöverdon.
För avstängning och reglering. Varmt och kallt vatten:
- Värme och kylsystem
- Glykolblandat vatten
- Vakuum
- Neutrala gaser
EPDM-gummi:Varmvatten, luft, neutrala gaser, vissa utspädda oorganiska syror, vissa alkoholer (max 30%)
EPDM högtemp:Kyla och värmevatten med utökat temperaturområde, -30°C till 130°C.
PSB.2 Vridspjällventiler
Vridspjällventil AT 2315, med ventilhus av segjärn och i huset fastvulkaniserat foder av EPDM samt spjällskiva i rostfritt stål. Spjäll i full-lug utförande och lämplig som ändventil.
AT 231xS med spak standard t.o.m. DN150,
AT 231xV med växel standard fr.o.m DN200
AFS 2023:5, PED 2014/68/EU
Produkten är CE-märkt
Märkning på produkt: Fabrikat, DN, PN, material enl SS-EN 27
| Pos | Komponent | Material |
|---|---|---|
| 1 | Ventilhus | Segjärn GJS-400-15 (GGG40) |
| 2 | Spjällskiva | Rostfritt stål AISI 431 (1.4057) |
| 3 | Foder | EPDM (etenpropengummi) |

Dimensionsområde (DN): 50 - 2200
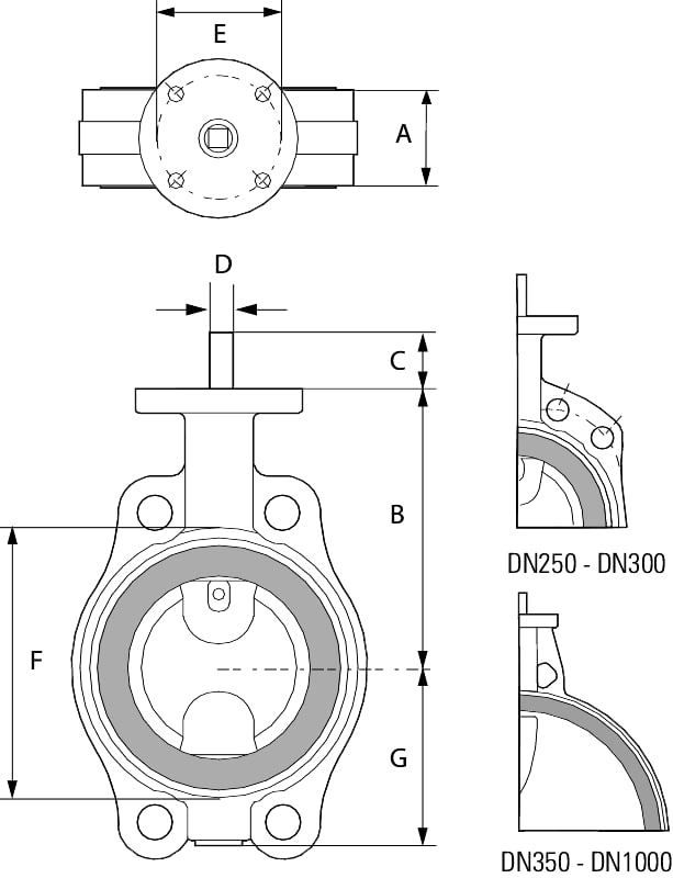
| DN | A | B | G | Nettovikt (kg) |
|---|---|---|---|---|
| 50 | 43 | 118 | 63 | 8.5 |
| 65 | 46 | 126 | 71 | 10 |
| 80 | 46 | 133 | 78 | 11 |
| 100 | 52 | 147 | 98 | 13 |
| 125 | 56 | 160 | 109 | 17 |
| 150 | 56 | 180 | 133 | 21 |
| 200 | 60 | 204 | 158 | 27 |
| 250 | 68 | 245 | 194 | 30 |
| 300 | 78 | 270 | 219 | 55 |
| 400 | 102 | 363 | 308 | 95 |
| 600 | 154 | 510 | 426 | 215 |
Heltätande underhållsfri vridspjällventil med centriskt placerad spjällskiva, delad spindel, helt hus med i huset fastvulkaniserat gummifoder som eliminerar risken för spaltkorrosion, skyddar ventilhuset invändigt mot korrosion och tjänstgör som flänspackning. Tillverkningsprocessen säkerställer utmärkt tätning och ökad livslängd eftersom nötning av fodret elimineras. Spjällskivans profil är avgörande för att uppnå goda flödesegenskaper som på sikt leder till att energiförlusterna minimeras. Ventilen är tät oavsett flödesriktning.
Ventilhus med SEMI-LUG fästöron för ensidigt montage
AT 2310 och AT 2311 är försedda med fästöron t.o.m. DN 300. Hålbild enl. PN16 upp till DN 200 och PN10 för DN250-300.
AT 2312, AT 2313 och AT 2314 är försedda med fästöron t.o.m. DN 200.
Denna konstruktion medför att ventilen bibehåller sin tätningsfunktion även vid ensidigt flänsmontage, exempelvis som ändventil.
Spjällskiva och axeltappar är förenade med ett eller flera kraftiga koniska stift.
Vridspjällventil AT 2310-11 DN 50-200 levereras som standard med hög spindelhals för överisolering.Bygglängd enligt SS-EN 558
Toppfläns enligt ISO 5211.
Standard ytbehandling klass C3 enl. ISO 12944.
Vid montage utomhus där det förekommer påtagliga mängder luftföroreningar eller måttlig mängd salt såsom i industri och kustområden,
utan regnskydd rekomenderas klass C4.
Huvudmaterial: Segjärn
Huvudmaterialkod: Segjärn GJS-400-15 (GGG40)
Ingående material: Gummi, Segjärn
Ingående materialkod: Segjärn GJS-400-15 (GGG40), EPDM (etenpropengummi)
Temperatur (°C): -20 - 110
Tryckklass (PN): 10 - 16
Anslutning: Flänsad EN1092
ETIM klassning: EC010910 - Vridspjällsventil (Drosselventil)
BK04 kod: 20706 Vridspjäll
Produktens färg: RAL 2000 - Gulorange
Flödesriktning: Dubbelriktad
Möjlig montageposition: Vertikal, Horisontell
Möjlig montageposition notering: Montage med spindelaxel horisontellt är optimalt.
Ventilen är avsedd att monteras mellan flänsar, utan packningar, och där så är möjligt med axlarna i horisontellt läge, undvik att monjtera ventil med axeln nedåt. Vid ensidigt montage får bultar och muttrar inte dras åt med högre moment än vad som anges i tabell i relevant norm. Ventilen skall motioneras regelbundet för att undvika ansamling av smuts som kan leda till läckage.