Avstängningsventil för media med hög fiberhalt eller fasta partiklar. Sätestätning i EPDM. Med stigande spindel. Möjlig att automatisera med manöverdon, fås med icke stigande spindel eller beställas med andra anpassningar.
| Dimensionsområde (DN) | 50 - 1200 |
|---|---|
| Tryckklass (PN) | 6 - 10 |
| Temperatur (°C) | 0 - 120 |
| Huvudmaterial | Gråjärn |
| Artikelnummer | DN | PN | Temperatur (°C) | Anslutning | Manöver | Antal | ||
|---|---|---|---|---|---|---|---|---|
| AT 2201-100 | 100 | 10 | 0 - 90 | Flänsad EN1092 | Handratt | 2025-12-15 | 7 200 SEK |
Avstängningsventil för media med hög fiberhalt, torra ämnen eller media med upp till 5% suspenderade partiklar.
- Avloppsvatten
- Bakvatten
- Pappersmassa
- Pellets
- Pulver
- Returpapper
- Slam
- Slurry
Sätestätning av EPDM lämpar sig för vatten eller media utspätt i vatten. Kan också användas för aggressiva media. Ger ett 100% vattentätt skydd.
Spjällblad i rostfritt stål 304 ger ett korrosionsskydd som lämpar sig för media utan salt eller med mildare syra.
Möjlig att automatisera med manöverdon, fås med icke stigande spindel eller beställas med andra anpassningar. Kontakta gärna Armatec för en lösning anpassad enligt ert behov.
PSB.3 Skjutspjällsventiler
AFS 2023:5, 8 paragraf, PED 2014/68/EU art 4.3
Produkten är CE-märkt
Märkning på produkt: Fabrikat, DN, PN, material, flödespil och seat-markering
Reach datum: 2024-12-03
Reachnotering: Produkten omfattas EJ av REACH
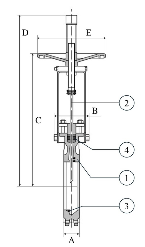
| Pos | Komponent | Material |
|---|---|---|
| 1 | Ventilhus | Gråjärn GJL-250 (GG25) |
| 2 | Spjällblad | Rostfritt stål AISI 304 (1.4301) |
| 3 | Sätestätning | EPDM (etenpropengummi) |
| 4 | Packbox | PTFE (polytetrafluoreten) |

Dimensionsområde (DN): 50 - 1200
| DN | 100 |
|---|---|
| A | 50 |
| B | 92 |
| C | 373 |
| D | 502 |
| E | 225 |
| Nettovikt (kg) | 11 |

Avstängningsventil med handratt och stigande spindel. Fullt genomlopp, ger lågt tryckfall och minimerar risken för igensättning. Homogent gjutet ventilhus eliminerar läckage till atmosfären och förhindrar skevdragning av spjället. Tät packbox genom glandspårets utformning med PTFE-impregnerad fläta. Ingjutna styrklackar i huset ökar spjällbladets anpressning mot mjuktätningen vid stängning. Utbytbar mjuktätning och packbox-tätning.
Max ∆P:
10bar för DN≤250
6bar för 300≤DN≤400
4bar för 450≤DN≤600
3bar för 700≤DN≤1200
Huvudmaterial: Gråjärn
Huvudmaterialkod: Gråjärn GJL-250 (GG25)
Ingående material: Gråjärn, Rostfritt stål, Gummi, Övrigt
Ingående materialkod: Rostfritt stål AISI 304 (1.4301), Gråjärn GJL-250 (GG25), EPDM (etenpropengummi), PTFE (polytetrafluoreten)
Temperatur (°C): 0 - 120
Tryckklass (PN): 6 - 10
Anslutning: Flänsad EN1092
ETIM klassning: EC011462 - Skjutspjällsventil
BK04 kod: 20709 Skjutspjällventiler
Produktens färg: RAL 5015 - Himmelsblå
Kommentar till färg: Epoximålning
Flödesriktning: Enkelriktad
Möjlig montageposition: Vertikal
Monteras mellan flänsar.
Upp till 30% av det maximala arbetstrycket kan appliceras i motsatt riktning mot flödesmarkeringen.
För media med fasta partiklar i ett gravitationssystem installeras ventilen med flödespilen mot flödet.
Systemet skall renspolas och avluftas med fullt öppen ventil före idrifttagning. Starta alltid systemet med stängd ventil.
-Efter 4-6 veckors drift ska flänsförbandet efterdras.
-Rattmanövrerade ventiler är försedda med smörjnippel och bör regelbundet
smörjas med vattenfast fett.
-Packboxen kontrolleras och efterdras vid behov.
-Vid stängning ska spjällbladet gå mot ventilbotten, att därefter öka åtdragningskraften bidrar inte till ökad täthet utan kan skada bladet.