Hoppa till innehåll
3591A_IMG_1.jpg

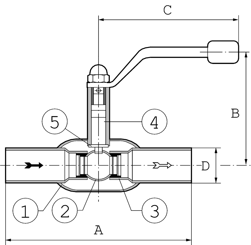
Kulventil AT 3591A

Helsvetsad rörkonstruktion med svetsände samt invändig gänga, Kulans genomlopp är strypt en dimension. Avstängningsventil för varm- och hetvattensystem samt tryckluft och gaser.  Kulan är inspänd mellan två sätesringar av kolfylld PTFE. Samtliga dimensioner är försedda med ISO topp.

Dimensionsområde (DN)10 - 50
Tryckklass (PN)40
Temperatur (°C)-20 - 200
HuvudmaterialStål
  • MagiCAD logo
  • IBVD logo
  • Bedömning C- - SundaHus Miljödata Varan har bedömning C- i SundaHus Miljödata