Hoppa till innehåll
3535A_IMG_1.jpg

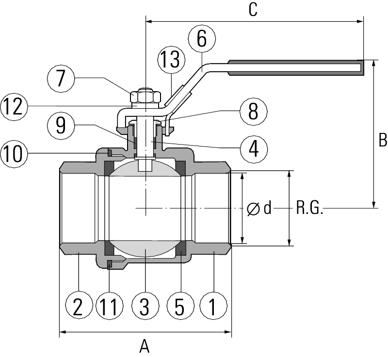
Kulventil AT 3535A

Kulventiler av rostfritt stÄl/PTFE fullt genomlopp med invÀndiga gÀngor. För i huvudsak syror och saltlösningar, lösningsmedel, alkoholer och petroliumprodukter.

DimensionsomrÄde (DN)10 - 100
Tryckklass (PN)63
Temperatur (°C)-20 - 200
HuvudmaterialRostfritt stÄl
  • Bedömning C- - SundaHus Miljödata Varan har bedömning C- i SundaHus Miljödata
  • Byggvarubedömning - Undviks Varan har bedömning Undviks i Byggvarubedömning