Hoppa till innehåll
1028B_IMG_1.jpg

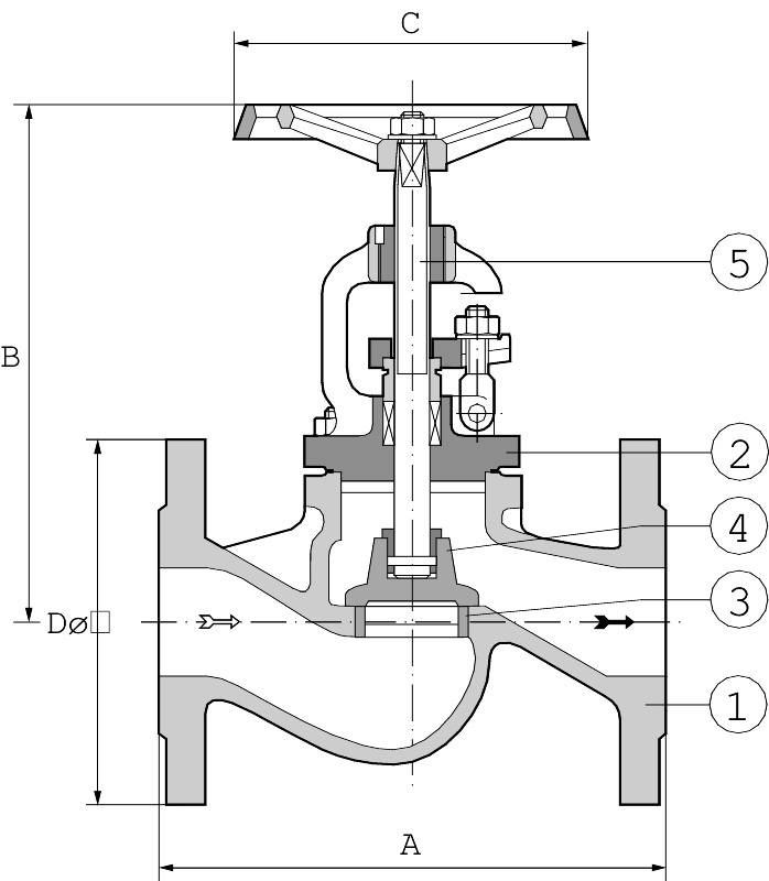
Kägelventil AT 1040CX

Kägelventil av rostfritt syrafast stål, med flänsar, PN 40. Med stigande, utvändigt gängad spindel. Plana tätningsytor. Packboxen är tryckavlastad med käglan i fullt öppet läge. Ventiler fr.o.m. DN 125 har som standard tryckavlastad kägla vilket även innebär att flödesriktningen är från motsatt håll, d.v.s uppifrån och ned. Som avstängningsventil för ånga, kondensat, hetvatten. Kan fås med reglerkägla

Dimensionsområde (DN)15 - 250
Tryckklass (PN)40
Temperatur (°C)-10 - 400
HuvudmaterialRostfritt stål