Hoppa till innehåll
1149i.jpg

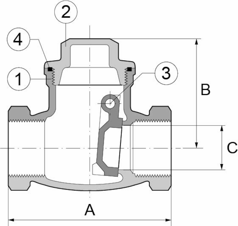
Klaffbackventil AT 1149-

Klaffbackventil av rostfritt stÄl, PN16 med gÀnga. För syror och saltlösningar, lösningsmedel och alkoholer, media enligt SSG 1650 samt petroleumprodukter.

DimensionsomrÄde (DN)15 - 50
Tryckklass (PN)16
Temperatur (°C)-30 - 180
HuvudmaterialRostfritt stÄl
  • IBVD logo
  • Bedömning C- - SundaHus Miljödata Varan har bedömning C- i SundaHus Miljödata
  • Byggvarubedömning - Undviks Varan har bedömning Undviks i Byggvarubedömning