Hoppa till innehåll
4575_4576_IMG_1.jpg Leser

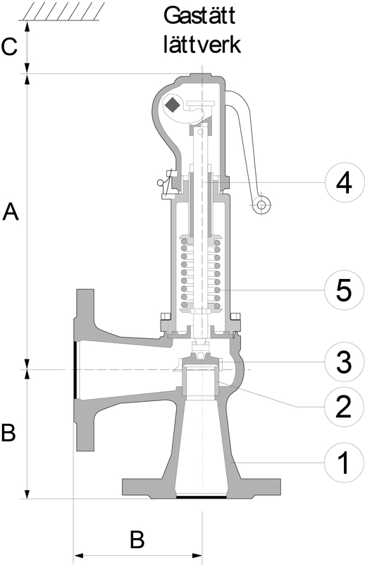
Säkerhetsventil AT 4576-

Säkerhetsventil med "normal" karaktäristik. Flänsade anslutningar. Av rostfritt syrafast stål, mjuktätande kägla.

Dimensionsområde (DN)15 - 100
Tryckklass (PN)40
HuvudmaterialRostfritt stål