Hoppa till innehåll
4510-_IMG_1.jpg Leser

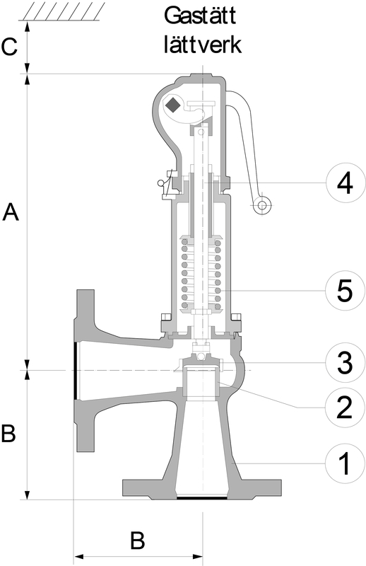
Säkerhetsventil AT 4510-

Säkerhetsventil med "normal" karaktäristik. Flänsade anslutningar. Av gråjärn, metalliskt tätande kägla.

Dimensionsområde (DN)15 - 100
Tryckklass (PN)16
HuvudmaterialGråjärn
  • Bedömning D - SundaHus Miljödata Varan har bedömning D i SundaHus Miljödata