Tryckmätarsats, armatur rostfritt stål, vattensäcksrör i stål, PN 160. Exklusive tryckmätarventil och svetstuds.
Dimensionsområde (DN) | 10 |
---|---|
Tryckklass (PN) | 160 |
Temperatur (°C) | -20 - 280 |
Huvudmaterial | Stål |
Artikelnummer | Utförande | Temperatur (°C) | Mätområde | Information om display | Antal | ||
---|---|---|---|---|---|---|---|
AT 1806-10-10 | Visuell visning | -20 - 280 | 0 - 10 | 2025-10-13 | 5 200 SEK | ||
AT 1806-10-16 | Visuell visning | -20 - 280 | 0 - 16 | 2025-10-13 | 5 200 SEK |
För tryckmätning av i huvudsak varmt/kallt vatten, värme-/kylvatten, ånga samt neutrala vätskor och gaser.
UGC.31 *Mätare för tryck, rörmonterade, med analog visning av momentant värde
UGC.31 *Mätare för tryck, rörmonterade, med analog visning av momentant värdeTryckmätarsats AT180...., DN 10 (husdiameter .... mm)Graderad 0-.... bar
AFS 2023:5, 8 paragraf
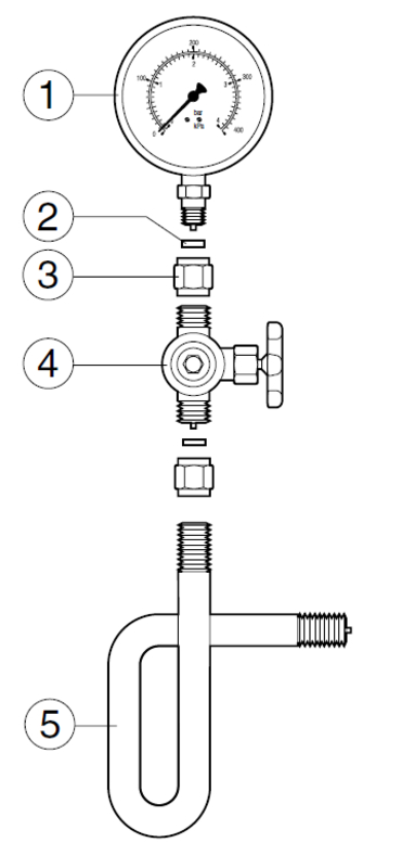
Pos | Komponent | Material |
---|---|---|
1 | Tryckmätare | Mässing |
2 | Packning | Koppar |
3 | Anslutningsstycke | Rostfritt stål |
4 | Kontrolltryckmätarventil | Syrafast stål AISI 316 (1.4401) |
5 | Vattensäcksrör | Stål P235GH (1.0345) |
Dimensionsområde (DN): 10
Vid tryckmätning på ånga eller heta vätskor måste tryckmätaren skyddas mot hög temperatur. Temperaturen vid tryckmätaren får inte överstiga 50°C. För detta används lämpligen vattensäcksrör.
Tryckmätare på ångpannor eller andra tryckkärl, för vilka officiella föreskrifter gäller, ska förses med kontrolltryckmätarventil för anslutning av kontrolltryckmätare.
För att kunna åtgärda kontrolltryckmätarventilen under drift, bör enheten kompletteras med en tryckmätarventil.
Tryckmätarsatsen AT 1806 är speciellt avsedd för fjärrvärme-primär eftersom den har minimalt med gänganslutningar.
OBS! Vid överhettad ånga erfordras ofta en längre rörslinga än ett vattensäcksrör för att tryckmätaren ej skall övertempereras.
Tryckmätarsatsen levereras förpackad och med monteringsanvisning.
Skalområdet bör väljas enligt de förekommande standardområden som finns. Vid konstant belastning bör ej 2/3 av skalområdet överstigas, och vid växlande belastning 1/2 skalområdet.
Max Arbetstryck:
160 bar(e) vid 150°C
125 bar(e) vid 200°C
20 bar(e) vid 280°C
Huvudmaterial: Stål
Ingående material: Mässing, Stål, Rostfritt stål
Temperatur (°C): -20 - 280
Tryckklass (PN): 160
Anslutning: ISO 1127, svetsända
ETIM klassning: EC011167 - Differenstryckmätare
BK04 kod: 20715 Temperatur och tryckmätare
Flödesriktning: Enkelriktad
Möjlig montageposition: Horisontell
Tryckmätarsatsen skall monteras så att god avläsning av tryckmätaren erhålles. Det är också viktigt, särskilt på lägre tryckområden, att satsen monteras så att tryckmätaren sitter vertikalt med tappen nedåt.
Svetsstutsen insvetsas horisontellt eller helst med lutning ca 5 grader nedåt, vilket ger ordentlig avluftning samt vattenfyllt rör och ventil, med lägre temperatur som följd.