Høykvalitets forseglet spjeldventil med dupleksskive og fast vulkanisert EPDM-gummiforing. Full-LUG-design. Også egnet for vakuum og som endeventil med håndspak, snekkegir eller aktuator.
For nedstengning og regulering. Varmt og kaldt vann:
EPDM gummi: Varmt vann, luft, nøytrale gasser, noen fortynnede uorganiske syrer, noen alkoholer (maks 30 %)
EPDM høy temp: Kjøle- og varmevann med utvidet temperaturområde, -30°C til 130°C.
PSB.2 Roterende spjeldventiler
AFS 2023:5, PED 2014/68/EU
Produktet er CE-merket
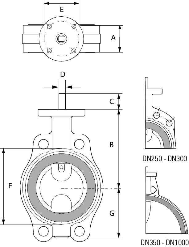
| Pos | Komponent | Materiale |
|---|---|---|
| 1 | Ventilhus | Støpejern GJS-400-15 (GGG40) |
| 2 | Spjeldskive | Rustfritt stål duplex (1.4462) |
| 3 | Fôr | EPDM (etenpropengummi) |

Dimensjonsområde (DN): 50 - 2200
| DN | 200 | |
|---|---|---|
| A | 60 | |
| B | 204 | |
| C | 158 | |
| Netto vekt (kg) | 22 | 0 |
Helt tett vedlikeholdsfri spjeldventil med sentralt plassert skive, delt spindel, helhus med fast vulkanisert gummiforing i karosseriet som eliminerer risikoen for sprekkkorrosjon, beskytter ventilhuset innvendig mot korrosjon og fungerer som flenspakning. Produksjonsprosessen sikrer utmerket tetning og økt levetid ettersom slitasje på foringen er eliminert. Spjeldskivens profil er avgjørende for å oppnå gode strømningsegenskaper, noe som på sikt fører til minimering av energitap. Ventilen er tett uansett strømningsretning.
Hovedmateriale: Seigjern
Hovedmaterialets kode: Støpejern GJS-400-15 (GGG40)
Inngående materialer: Gummi, Seigjern
Inkludert materialkode: Støpejern GJS-400-15 (GGG40), EPDM (etenpropengummi)
Temperatur (°C): -20 - 110
Trykklasse (PN): 10 - 16
Forbindelse/Tilkobling: Flenset DIN-EN1092
ETIM klassifisering: EC010910 - Butterfly ventil (spjeldventil)
BK04-kode: 20706 Vridspjäll
Produktfarge: RAL 2000 - Gul oransje
Strømningsretning: To-veis
Mulig monteringsposisjon: Vertikal, Horisontal
Ventilen er beregnet for å monteres mellom flenser, uten pakninger, og der det er mulig med akslingene i horisontal posisjon, unngå å montere ventilen med akselen nedover. Ved montering på en side skal ikke bolter og muttere trekkes til med høyere tiltrekkingsmoment enn angitt i tabellen i den aktuelle standarden. Ventilen må trenes regelmessig for å unngå opphopning av skitt som kan føre til lekkasje.