EVBS Dreiespjeld Wafer
Hus: Seigjern
Spjeld: Duplex
Liner: EPDM
AT2313 er en kvalitetsventil med fast vulkanisert EPDM-tetning i semi-LUG design. Ventilene er også godt egnet for vakuum, og kommer med håndspak, snekkegir eller aktuator. Med høy hals for overisolering.
For avstengning og regulering. Varmt og kaldt vann.:
- Varme og kjølesystemer
- Glykolblandet vann
- Gråvann
- Nøytrale gasser
EPDM: Varmvann, luft. nøytrale gasser, visse organiske syrer, visse alkoholer (maks 30%)
EPDM høytemp: Kjøle og varmtvann med økt temperaturområde: -30°C til 130°C.
PSB.2 Roterende spjeldventiler
Dreiespjeld AT2313, med hus i støpejern og påvulkanisert tetning i EPDM samt spjeld i duplex.
AT 2313S med spak standard t.o.m. DN150
AT2313V med gir standard f.o.m. DN200
AFS 2023:5, PED 2014/68/EU
Produktet er CE-merket
Produktmerking: Fabrikat, DN, PN, Materiale
Byggevaredeklarasjon: Unngått
Produkt BVB ID: 53285
Sundahus: B
| Pos | Komponent | Materiale |
|---|---|---|
| 1 | Ventilhus | Støpejern GJL-250 (GG25) |
| 2 | Spjeldskive | Rustfritt stål duplex (1.4462) |
| 3 | Fôr | EPDM (etenpropengummi) |

Dimensjonsområde (DN): 50 - 2200
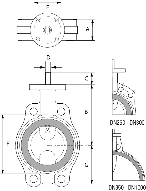
| DN | A | B | C | Netto vekt (kg) |
|---|---|---|---|---|
| 50 | 43 | 118 | 63 | 3.808 |
| 65 | 46 | 126 | 71 | 4.595 |
| 80 | 46 | 133 | 78 | 4.774 |
| 100 | 52 | 147 | 98 | 6.119 |
| 125 | 56 | 160 | 109 | 8 |
| 150 | 56 | 180 | 133 | 10.2 |
| 200 | 60 | 204 | 158 | 14.5 |
| 600 | 154 | 510 | 426 | 178 |
| 0 |
Myktettende vedlikeholdsfri dreiespjeldventil med sentrisk spjeld, delt spindel, helt hus med påvulkanisert gummitetning som eliminerer risikoen for korrosjon, beskytter ventilhuset innvendig mot korrosjon og fungerer som flenspakning. Utførelsen sikrer utmerket tetning og lang levetid. Spjeldets profil er avgjørende for å oppnå gode strømningegenskaper.
Hovedmateriale: Støpejern
Hovedmaterialets kode: Støpejern GJL-250 (GG25)
Inngående materialer: Støpejern, Rustfritt stål, Gummi
Inkludert materialkode: Rustfritt stål duplex (1.4462), Støpejern GJL-250 (GG25), EPDM (etenpropengummi)
Temperatur (°C): -20 - 110
Trykklasse (PN): 10 - 16
Forbindelse/Tilkobling: Flenset DIN-EN1092
ETIM klassifisering: EC010910 - Butterfly ventil (spjeldventil)
BK04-kode: 20706 Vridspjäll
Produktfarge: RAL 2000 - Gul oransje
Strømningsretning: To-veis
Mulig monteringsposisjon: Vertikal, Horisontal
Ventilen monteres mellom flenser, uten pakninger, og der det er mulig med spindelen i horisontal stilling, med minimum mål for spjeldets bevegelse som under:
Ved ensidig montasje skal ikke bolter og muttere dras til med høyere moment enn: