Gå til innholdssider
1028B_IMG_1.jpg

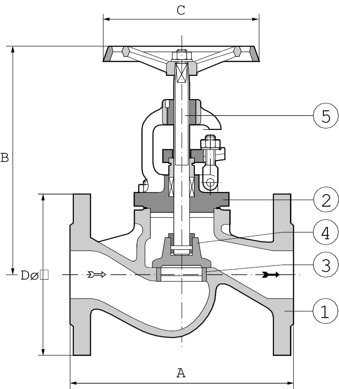
Seteventil AT 1040CX

Seteventil, hus GS-C25, flens PN40. Med utvendig spindelgjenge og stigende spindel. Flate tetningsflater. Pakkboksen er trykkløs med kjeglen i helt åpen posisjon. Ventiler fra DN 125 har trykkavlastet kjegle som standard, som også betyr at strømningsretningen er fra motsatt retning, dvs. fra topp til bunn. Som stengeventil for damp, kondensat og varmtvann.

Dimensjonsområde (DN)15 - 250
Trykklasse (PN)40
Temperatur (°C)-10 - 400
HovedmaterialeRustfritt stål