Siirry sisältöön
3585-_IMG_1.jpg

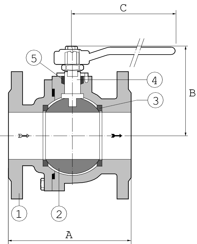
JC-palloventtiilit AT 3585-

Laipallinen palloventtiili haponkestävästä teräksestä, rakennemitta DIN 3202 F4 mukaan. 2-osainen, helppohuoltoinen rakenne. Ensisijaisesti hapoille, suolaliuoksille, liottimille, alkoholille, maakaasulle ja petrokemian tuotteille.

Mitta-alue (DN)15 - 300
PN16 - 40
Lämpötila (°C)-29 - 260
Materiaali pääosinTeräs
  • Arviointi C- - SundaHus ympäristötiedot Tuotteella on C- luokitus