Siirry sisältöön
1028B_IMG_1.jpg

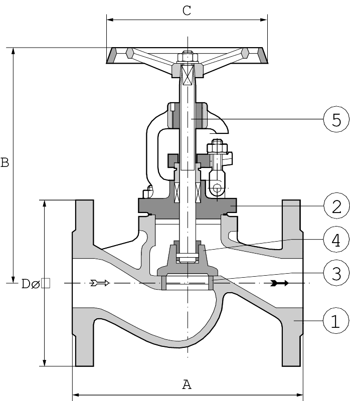
Istukkaventtiili AT 1040CX

Istukkaventtiili, runko GS-C25, laipoin PN40. Ulkopuolisella karakierteellä ja nousevalla karalla. Lautasessa poksin takatiivistys auki-asennossa. Painetta tasaava ja avautumista helpottava lautasrakenne DN125 –DN150 venttiileissä. Sulkuventtiiliksi höyrylle, lauhteelle ja kuumalle vedelle.

Mitta-alue (DN)15 - 250
PN40
Lämpötila (°C)-10 - 400
Materiaali pääosinRuostumaton teräs