Istukkaventtiili, runko GGG40.3, laipoin PN25. Suojapalje estää väliaineen pääsyn kosketuksiin poksitiivisteen kanssa. Huoltovapaa rakenne. Ulkopuolinen karakierre ja visuaalinen auki-kiinni asennonosoitin karalla. Nousematon kara. Sulkuventtiiliksi höyrylle, lauhteelle, kuumalle öljylle sekä ympäristölle vaarallisille väliaineille.
| Mitta-alue (DN) | 15 - 200 |
|---|---|
| PN | 16 - 25 |
| Lämpötila (°C) | -10 - 350 |
| Materiaali pääosin | Pallografiittivalurauta |
| AT-numero | DN | PN | Liitäntä |
|---|---|---|---|
| AT1028B100 | 100 | 25 | Laipallinen EN1092 |
 Sulkuventtiilinä – höyrylle– lauhteelle– vedelle – lämmönsiirtoöljylle
PSB.5 Palloventtiilit ja neulaventtiilit
AFS 2023:5, PED 2014/68/EU
Tuote on CE-merkitty
Tavoiteaika: 2024-12-03
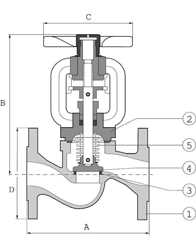
| Pos | Komponentti | Materiaali |
|---|---|---|
| 1 | Venttiilipesä | Pallografiittivalurauta GJS-400-18 (GGG40.3) |
| 2 | Kansi | Pallografiittivalurauta GJS-400-18 (GGG40.3) |
| 3 | Pesä | Martensiittinen ruostumaton teräs (1.4021) |
| 4 | Lautanen | Martensiittinen ruostumaton teräs (1.4021) |
| 5 | Taitettavat palkeet | Haponkestävä teräs AISI 316Ti (1.4571) |

Mitta-alue (DN): 15 - 200
| Artikkelinumero | A | B | C | D | Nettopaino (kg) |
|---|---|---|---|---|---|
| AT1028B100 | 350 | 325 | 250 | 220 | 35 |

Suojapalje (5) estää väliaineen kosketuksen karaan ja sen tiivisteisiin poistaen näin mahdollisuuden venttiilin karan poksivuotoihin.- Huoltovapaa- Ulkopuolinen karakierre- Asennonosoitin kiinni/auki- Nousematon käsipyöräÂ
Materiaali pääosin: Pallografiittivalurauta
Päämateriaalin koodi: Pallografiittivalurauta GJS-400-18 (GGG40.3)
Saapuvat materiaalit: Ruostumaton teräs, Pallografiittivalurauta
Sisältyvä materiaalikoodi: Martensiittinen ruostumaton teräs (1.4021), Pallografiittivalurauta GJS-400-18 (GGG40.3)
Lämpötila (°C): -10 - 350
Lämpötilaa koskevat huomautukset: Suojapalje (5) estää väliaineen kosketuksen karaan ja sen tiivisteisiin poistaen näin mahdollisuuden venttiilin karan poksivuotoihin.- Huoltovapaa- Ulkopuolinen karakierre- Asennonosoitin kiinni/auki- Nousematon käsipyöräÂ
PN: 16 - 25
Liitäntä: Laipallinen EN1092
ETIM-luokitus: EC010120 - Istukkaventtiili
BK04-koodi: 20707 Sieniventtiilit
| DN | 100 |
|---|---|
| KVS | 181 |
Virtaussuunta: Yksisuuntainen
Mahdollinen asennusasento: Pystysuora, Vaakasuora
Asennusasento vapaa.Poikkeus: ei käsipyörä alaspäin.Verkosto huuhdeltava ennen käyttöönottoa.