Lämmitysveden, kuumaveden, jäähdytysveden, petrolituotteiden, neutraaliennesteiden ja höyryn mekaaninen puhdistaminen.
| Mitta-alue (DN) | 15 - 250 |
|---|---|
| PN | 16 - 25 |
| Lämpötila (°C) | -10 - 350 |
| Materiaali pääosin | Pallografiittivalurauta |
| AT-numero | Suoritus | DN | PN | Lämpötila (°C) | Sihdin reikäkoko (mm) |
|---|---|---|---|---|---|
| AT 4029B-25 | Standardi | 25 | 25 | -10 - 350 | 0.6 |
| AT 4029B-125 | Standardi | 125 | 16 | -10 - 350 | 0.6 |
| AT 4029-125 | C2-maali | 125 | 16 | -10 - 350 | 0.6 |
| AT 4029B150 | Standardi | 150 | 16 | -10 - 350 | 0.6 |
| AT 4029B250 | Standardi | 250 | 16 | -10 - 350 | 0.6 |
Lämmitysveden, kuumaveden, jäähdytysveden, petrolituotteiden, neutraalien nesteiden ja höyryn mekaaninen puhdistaminen.
PMB.211 Siivilät
AFS 2023:5, PED 2014/68/EU
Tuote on CE-merkitty
Tuoteseloste: Hyväksytty
Tuote BVB ID: 109806
SundaHus: A
Tavoiteaika: 2025-05-05
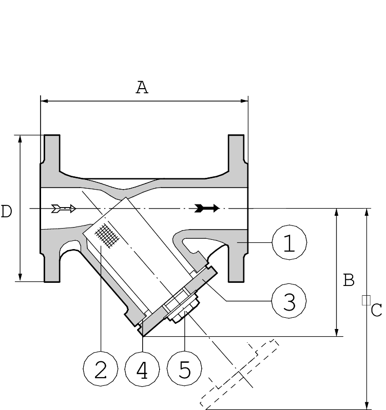
| Pos | Komponentti | Materiaali |
|---|---|---|
| 1 | Pesä | Pallografiittivalurauta |
| 2 | Suodatinelementti | Ruostumaton teräs AISI 304 (1.4301) |
| 3 | Kansi | Pallografiittivalurauta |
| 4 | Kansitiiviste | Grafiitti |
| 5 | Puhdistustulppa | Teräs C35 (1.0501) |
| 6 | Diff. painetulppa | Teräs C35 (1.0501) |

Mitta-alue (DN): 15 - 250
Pysäyttää tehokkaasti läpivirtaavassa väliaineessa olevat suodatinelementin reikäkokoa suuremman partikkelit.
Materiaali pääosin: Pallografiittivalurauta
Päämateriaalin koodi: Pallografiittivalurauta GJS-400-18 (GGG40.3)
Saapuvat materiaalit: Pallografiittivalurauta
Sisältyvä materiaalikoodi: Pallografiittivalurauta GJS-400-18 (GGG40.3)
Lämpötila (°C): -10 - 350
PN: 16 - 25
Liitäntä: Laipallinen EN1092
ETIM-luokitus: EC010151 - Y-suodatin
BK04-koodi: 20704 Suodattimet
MagiCAD linkki: https://redir.magicad.cloud/product/616d066c-ca57-4c3e-856e-0f6d83e22575
Virtaussuunta: Yksisuuntainen
Mahdollinen asennusasento: Pystysuora, Vaakasuora
Mudanerotin asennetaan putkistoon vaakasuoraan kansi alaspäin. Näin varmistetaan paras toiminta ja helppo suodatinelementin puhdistus. Asennuksessa huomioitava oikea virtaussuunta.Tyhjennystulpan tilalle voidaan asentaa pallo-venttiili, esim. AT3640 tai 3600, jolloin suodatinelementin puhdistus on yksinkertaisempaa.