Til væsker, gasser og damp. Særlig robust type hvor klappen lukker før mediet vender hvilket reducerer muligheden for trykslag
| Dimensionsområde (DN) | 50 - 1200 |
|---|---|
| PN | 10 - 63 |
| Temperatur (°C) | -40 - 400 |
| Hovedmateriale | Rustfrit stål |
| Artikelnummer | Udførsel | DN | PN | Temperatur fra °C |
|---|---|---|---|---|
| AT KV4402050U | Metalisk tættende, Uden fjeder | 50 | 40 | -40 - 400 |
| AT KV4402065U | Metalisk tættende, Uden fjeder | 65 | 40 | -40 - 400 |
| AT KV4402080 | Med fjeder, Metalisk tættende | 80 | 40 | -40 - 400 |
| AT KV4402100 | Med fjeder, Metalisk tættende | 100 | 40 | -40 - 400 |
| AT KV4402125 | Med fjeder, Metalisk tættende | 125 | 40 | -40 - 400 |
| AT KV4402150 | Med fjeder, Metalisk tættende | 150 | 40 | -40 - 400 |
Kontraventil til krævende driftsforhold, egnet til væske, slurry, gas og damp. Kontraventiler
anbefales ikke til pulserende flow i forbindelse med f.eks. stempelpumper.
PSE.31 Kontraventiler i væskesystemer
AFS 2023:5, PED 2014/68/EU
Produktet er CE-mærket
ISO5208 lækageklasse 1 (metallisk tættende ventiler)
Produktmærkning: Produktet er mærket med typeskilt
Reach dato: 2025-04-23
| Pos | Komponent | Materiale |
|---|---|---|
| 1 | Hus | Syrefast stål AISI 316 (1.4408, CF8M) |
| 2 | Klap | Syrefast stål AISI 316 (1.4408, CF8M) |
| 3 | Aksel | Syrefast stål AISI 316 (1.4401) |
| 4 | Dæksel | Syrefast stål AISI 316 (1.4401) |

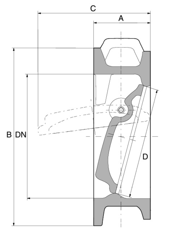
Dimensionsområde (DN): 50 - 1200
| DN | A | B | C | D | Netto vægt i (kg) |
|---|---|---|---|---|---|
| 50 | 43 | 107 | 60 | 44 | 1 |
| 65 | 46 | 127 | 70 | 58 | 1.1 |
| 80 | 64 | 162 | 102 | 90 | 2 |
| 100 | 64 | 162 | 102 | 90 | 3 |
| 125 | 70 | 194 | 120 | 112 | 4 |
| 150 | 76 | 219 | 140 | 135 | 6 |

Kontraventilen har skråtstillet metallisk tættende klap og sæde hvilket giver korte
lukningstider. I ventiler med fjederbelastet klap AT 2646F (kun i størrelser over
DN80) lukker ventilen før at strømmen vender. Dette reducerer risikoen for trykslag.
Hovedmateriale: Rustfrit stål
Hovedmateriale kode: Syrefast stål AISI 316 (1.4408, CF8M)
Indgående materialer: Rustfrit stål
Inkluderet materialekode: Syrefast stål AISI 316 (1.4408, CF8M)
Temperatur (°C): -40 - 400
PN: 10 - 63
Tilslutning: Flange EN1092
ETIM klassifikation: EC010596 - Flange kontraventil
BK04 kode: 20711 Kontraventiler
MagiCAD Link: https://redir.magicad.cloud/product/16826f10-5235-4100-a1d6-19857f018a72
Flowretning: Enkeltvirkende
Mulig montage retning: Vertikal, Horisontal
- Til indspænding mellem flanger
- Ventilen kan installeres i horisontelle ledninger og i vertikale ledninger med
flow opad
- Ved montering på horisontal rørledning skal ventilen placeres med sin spindel i
vandret position
- Pilen på ventilhuset viser flowretningen gennem ventilen